WAŻNE
TERAZ

Przełom na Bliskim Wschodzie. Izrael i Liban ogłoszą zawieszenie broni

Światło UV od Microsoftu uczyni ekrany nieskazitelnie czystymi

Tłuste odciski palców na wyświetlaczu to niewielki problem. Na naszych urządzeniach znajduje się mnóstwo bakterii, których gołym okiem nie jesteśmy w stanie dostrzec, a mogą one stanowić zagrożenie dla naszego zdrowia. Jednak Microsoft opatentował technologię, która usunie większość bakterii i zarazków.

Obraz

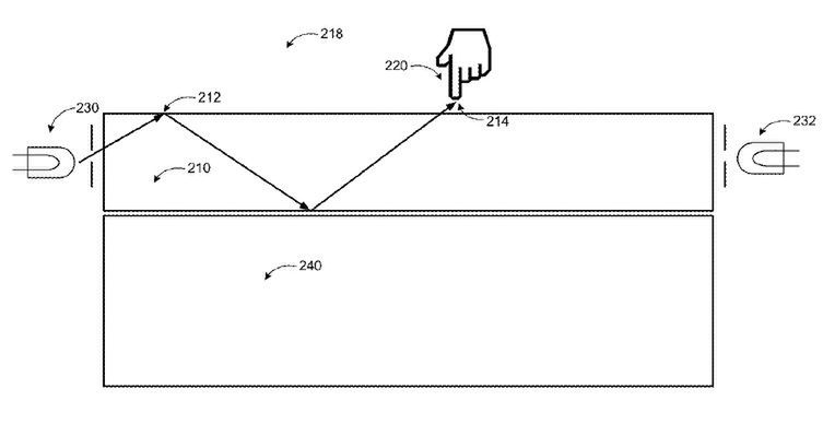
Smartfony, tablety, niektóre nowe laptopy, a także nawet smart-zegarki obsługujemy za pomocą dotykowego wyświetlacza. Palce na wyświetlaczu lądują często, zwłaszcza jeśli nie potrafimy wytrzymać zbyt długo bez sprawdzenia wiadomości czy postów na Facebooku. Często nie zdajemy sobie sprawy, jak wiele bakterii znajduje się na ekranie, a przy nich, tłuste odciski powinny być naszym najmniejszym zmartwieniem. Dodatkowo z pewnością niejeden raz daliśmy skorzystać znajomemu z naszego urządzenia, a więc na ekranie znalazły się również i jego bakterie.

Obraz

Ciągłe dbanie o odpowiednią czystość warstwy chroniącej dotykowy wyświetlacz z pewnością nie byłoby łatwe. W związku z tym ograniczamy się do usunięcia tłustych śladów pozostawionych przez palce, a nie jest to dobre podejście. Rozwiązaniem tego problemu może okazać się technologia opatentowana przez Microsoft. Wykorzystuje ona światło UV, które sprawdza się między innymi przy zabijaniu bakterii znajdujących się w powietrzu i wodzie. Światło wydobywające się z odpowiedniej lampy ma być przenoszone przez specjalny, przezroczysty materiał. Oczywiście dezynfekcja będzie odbywała się automatycznie, zawsze gdy palec dotknie ekranu, a więc zarazki i bakterie niszczone będą natychmiastowo.

Technologia Microsoftu ma w sobie duży potencjał. Jeśli zostanie wprowadzona, to przyniesie nam przede wszystkim znacznie czystsze ekrany, które będą pozbawione wielu zagrażającym naszemu zdrowiu bakterii i zarazków. Możliwe, że to rozwiązanie niedługo trafi do smartfonów z serii Lumia i tabletów Surface. Dodatkowo liczymy, że Microsoft nie ograniczy się tylko do własnych urządzeń i pozwoli innymi firmom korzystać z własnego rozwiązania. W końcu taka technologia jest znacznie bardziej potrzebna, niż niewielkie wyświetlacze o rozdzielczościach większych od Full HD.

Źródło artykułu: www.dobreprogramy.pl
Wybrane dla Ciebie
Nowości w mObywatelu. Dodano trzy funkcje
Nowości w mObywatelu. Dodano trzy funkcje
Ważny komunikat Alior Banku. Dotyczy wszystkich klientów
Ważny komunikat Alior Banku. Dotyczy wszystkich klientów
Uznański-Wiśniewski: To AI wybiera, co warto przesłać z orbity
Uznański-Wiśniewski: To AI wybiera, co warto przesłać z orbity
Czarna lista w telefonie. Jak zablokować niechciane połączenia?
Czarna lista w telefonie. Jak zablokować niechciane połączenia?
Nowość w Zdjęciach Google. Wygodniejsza edycja fotografii
Nowość w Zdjęciach Google. Wygodniejsza edycja fotografii
Atak hakerski na Booking. Zdobyli dane klientów
Atak hakerski na Booking. Zdobyli dane klientów
Luka 0-day w Adobe Reader. Wystarczy spreparowany PDF
Luka 0-day w Adobe Reader. Wystarczy spreparowany PDF
Zaktualizuj Windowsa: wydano kwietniowe poprawki
Zaktualizuj Windowsa: wydano kwietniowe poprawki
Wyciek danych klientów polskich sklepów. 130 tys. pokrzywdzonych
Wyciek danych klientów polskich sklepów. 130 tys. pokrzywdzonych
mBank zmienia wymagania aplikacji. Niektórzy muszą wymienić telefon
mBank zmienia wymagania aplikacji. Niektórzy muszą wymienić telefon
Awaria w Pekao S.A. Problem z bankowością (aktualizacja)
Awaria w Pekao S.A. Problem z bankowością (aktualizacja)
Zakazy social mediów dla nastolatków. Eksperci widzą problem
Zakazy social mediów dla nastolatków. Eksperci widzą problem
NIE WYCHODŹ JESZCZE! MAMY COŚ SPECJALNIE DLA CIEBIE 🎯