Jasne, że Apple myśli o multimedialnych okularach. Ma na to już nawet patent

Wielbiciele nowych technologii powoli psychicznie przygotowują się na upowszechnienie różnego rodzaju urządzeń, które po założeniu na głowę zabierać ich będą w wirtualne światy albo przynajmniej przyniosą mini-kino przed oczy. Rzecz jasna firma taka jak Apple nie mogła pozostać wobec przyszłościowego trendu obojętna. Pozyskała patent na odpowiednią konstrukcję, wykorzystującą jako ekran m.in. swoje najnowsze iPhone'y.

Obraz
Obraz

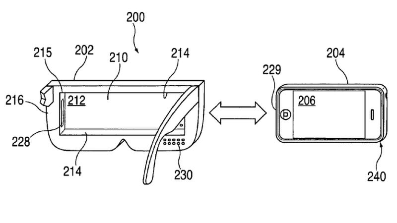
Technicznie ładnie opisane zostało to jako zakładane na głowę użytkownika urządzenie, skonfigurowane tak, by integrować się z (...) przenośnym urządzeniem elektronicznym, a chodzi po prostu o kawałek stylowo zaprojektowanego plastiku w formie okularów, z wnęką, w którą wsuwać się ma telefon. Po złączeniu iPhone ma przechodzić w specjalny tryb, umożliwiając wyświetlanie obrazu 2D lub też dającego złudzenie 3D w jakości odpowiedniej dla ludzkich oczu, które muszą się z bliskiej odległości skupić na ekraniku.

Patent wspomina o ewentualnej opcji wykorzystania tutaj również iPodów, ani słowa nie wspominając o iPadach, które zresztą chyba trudno byłoby nawet wyobrazić sobie przed czyjąś twarzą... Urządzenie z obudową łączyć się ma przewodowo, a Apple zauważa, że nie chodzi wyłącznie o przenośną rozrywkę, lecz także między innymi możliwość bezpiecznego zapoznania się z treściami, których nie powinny dojrzeć osoby postronne. Obejmuje to rzecz jasna przykładowo nie tylko tajne projekty firmowe, przeglądane w metrze w drodze do pracy, lecz także najzwyczajniej w świecie niebezpieczne RedTube. Oczko kamery w telefonie może też dawać podgląd otoczenia na żywo, z nałożonymi na ekran dodatkowymi informacjami, stanowiąc namiastkę wycofywanego Google Glass.

Obraz

Firma podkreśla, że nie chce bawić się w wyspecjalizowane gogle typu Oculus Rift, bo będą one mało praktyczne oraz drogie w porównaniu do relatywnie prostej konstrukcji, wyjmowanej z plecaka w razie potrzeby. Wystarczy wpiąć iPhone'a, których na świecie są już przecież miliony, aby uzyskać podobny efekt. Rozważa różne wersje produktu, od prostych plastikowych obudów, po takie wzbogacone o dodatkowe przyciski, specjalną powierzchnię dotykową, różnorakie sensory, wbudowaną pamięć na pliki czy baterię, która podładuje podczepione urządzenie główne, albo nawet... system je chłodzący.

Konkurencja oczywiście od dawna nie śpi. Wystarczy tu wspomnieć o Gear VR, czyli propozycji Samsunga, kartonowych goglach Cardboard Google'a czy polskim Vrizzmo VR. Pytanie, na ile taki gadżet, który w ekskluzywnym wydaniu Apple jeszcze swoje musi kosztować, faktycznie jest tym, na co od dawien dawna czekali oto konsumenci...

Źródło artykułu: www.dobreprogramy.pl
Wybrane dla Ciebie
Nowości w mObywatelu. Dodano trzy funkcje
Nowości w mObywatelu. Dodano trzy funkcje
Ważny komunikat Alior Banku. Dotyczy wszystkich klientów
Ważny komunikat Alior Banku. Dotyczy wszystkich klientów
Uznański-Wiśniewski: To AI wybiera, co warto przesłać z orbity
Uznański-Wiśniewski: To AI wybiera, co warto przesłać z orbity
Czarna lista w telefonie. Jak zablokować niechciane połączenia?
Czarna lista w telefonie. Jak zablokować niechciane połączenia?
Nowość w Zdjęciach Google. Wygodniejsza edycja fotografii
Nowość w Zdjęciach Google. Wygodniejsza edycja fotografii
Atak hakerski na Booking. Zdobyli dane klientów
Atak hakerski na Booking. Zdobyli dane klientów
Luka 0-day w Adobe Reader. Wystarczy spreparowany PDF
Luka 0-day w Adobe Reader. Wystarczy spreparowany PDF
Zaktualizuj Windowsa: wydano kwietniowe poprawki
Zaktualizuj Windowsa: wydano kwietniowe poprawki
Wyciek danych klientów polskich sklepów. 130 tys. pokrzywdzonych
Wyciek danych klientów polskich sklepów. 130 tys. pokrzywdzonych
mBank zmienia wymagania aplikacji. Niektórzy muszą wymienić telefon
mBank zmienia wymagania aplikacji. Niektórzy muszą wymienić telefon
Awaria w Pekao S.A. Problem z bankowością (aktualizacja)
Awaria w Pekao S.A. Problem z bankowością (aktualizacja)
Zakazy social mediów dla nastolatków. Eksperci widzą problem
Zakazy social mediów dla nastolatków. Eksperci widzą problem
ZANIM WYJDZIESZ... NIE PRZEGAP TEGO, CO CZYTAJĄ INNI! 👇