PlayStation 5 w wersji deweloperskiej na szkicach projektowych. Wiemy, jak wygląda wnętrze

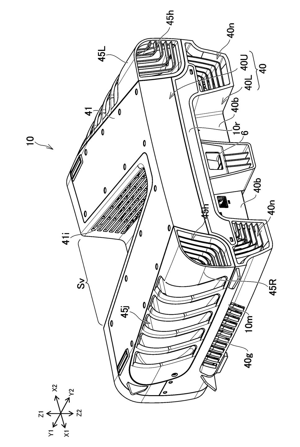
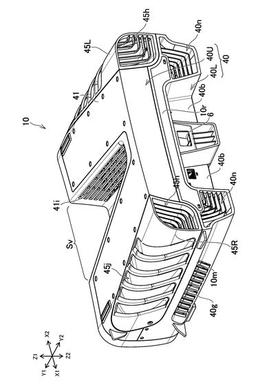
Do sieci trafił właśnie patent przedstawiający devkit konsoli PlayStation 5. Sam ten sprzęt, z charakterystyczną V-kształtną obudową, jest doskonale znany. Ale tylko z zewnątrz. Dokument prezentuje natomiast organizację wnętrza.

Obraz
Piotr Urbaniak

Jak wiadomo, devkity rzadko kiedy przypominają produkt konsumencki. Oczywiście są od tej reguły wyjątki, czego przykładem jest chociażby Xbox One X, ale w lwiej części przypadków zestaw deweloperski i konsola to dwa zupełnie różne urządzenia. Nie radziłbym więc traktować niniejszego materiału jako zapowiedzi tego, co przygotuje Sony dla konsumenta. Niemniej zdecydowanie stanowi on intrygującą ciekawostkę.

Okazuje się, że uwydatnione ramiona tak naprawdę dzielą wnętrze devkitu PS5 na dwie zasadnicze sekcje. Po lewej stronie znajduje się układ chłodzenia jednostki obliczeniowej w formie radiatora z komorą parową, po prawej zaś – zasilacz. Tak jedna, jak i druga część owiewane są trzema wentylatorami osiowymi ułożonymi rzędowo, co przypomina chłodzenie Xboksa 360. Tam jednak mieliśmy do czynienia z bardziej klasycznymi, monolitycznymi radiatorami.

  • Obraz
  • Obraz
[1/2] Źródło zdjęć: |

Płyta główna wraz z napędem optycznym, wyświetlaczem diagnostycznym i resztą platformy osadzone są w dolnej części obudowy, która w nomenklaturze pecetowej pełni dla nich rolę tacki. Widać wyraźnie, że główny scalak jest tu jeden. To z kolei istotnie odróżnia devkit PlayStation 5 od Xboksa Series X, który ma nie jedną, lecz dwie płyty główne. Przypomnę, Microsoft oddzielił SoC konsoli i jego zasilanie od pozostałej logiki.

Źródło artykułu: www.dobreprogramy.pl
Wybrane dla Ciebie
Ministerstwo Cyfryzacji zachwala mSzyfr. Nowy, bezpieczny komunikator
Ministerstwo Cyfryzacji zachwala mSzyfr. Nowy, bezpieczny komunikator
Komunikat Pekao S.A. Dotyczy wszystkich klientów
Komunikat Pekao S.A. Dotyczy wszystkich klientów
Copilot znika. Microsoft wycofuje się z agresywnej promocji
Copilot znika. Microsoft wycofuje się z agresywnej promocji
Santander Bank Polska zmienia nazwę. Będzie nowy adres WWW
Santander Bank Polska zmienia nazwę. Będzie nowy adres WWW
Masz mObywatela? Niektóre funkcje będą niedostępne
Masz mObywatela? Niektóre funkcje będą niedostępne
Awaria w Alior Banku. Nie działa aplikacja (aktualizaja)
Awaria w Alior Banku. Nie działa aplikacja (aktualizaja)
Ostrzeżenie CERT Orange. "Karta SIM wymaga aktualizacji"
Ostrzeżenie CERT Orange. "Karta SIM wymaga aktualizacji"
Koniec Messenger.com. Wszystko, co musisz wiedzieć
Koniec Messenger.com. Wszystko, co musisz wiedzieć
Microsoft potwierdza: Windows 11 przyspieszy
Microsoft potwierdza: Windows 11 przyspieszy
ProgramData - co to jest i czy można tam sprzątać?
ProgramData - co to jest i czy można tam sprzątać?
Używasz mObywatela? Koniecznie zapisz ten numer telefonu
Używasz mObywatela? Koniecznie zapisz ten numer telefonu
Skyscanner trafił do ChatGPT. Lotów można szukać zwykłą rozmową
Skyscanner trafił do ChatGPT. Lotów można szukać zwykłą rozmową
ZANIM WYJDZIESZ... NIE PRZEGAP TEGO, CO CZYTAJĄ INNI! 👇