Koszyk sklepowy będzie monitorował poziom stresu klientów, w razie potrzeby wezwie pomoc

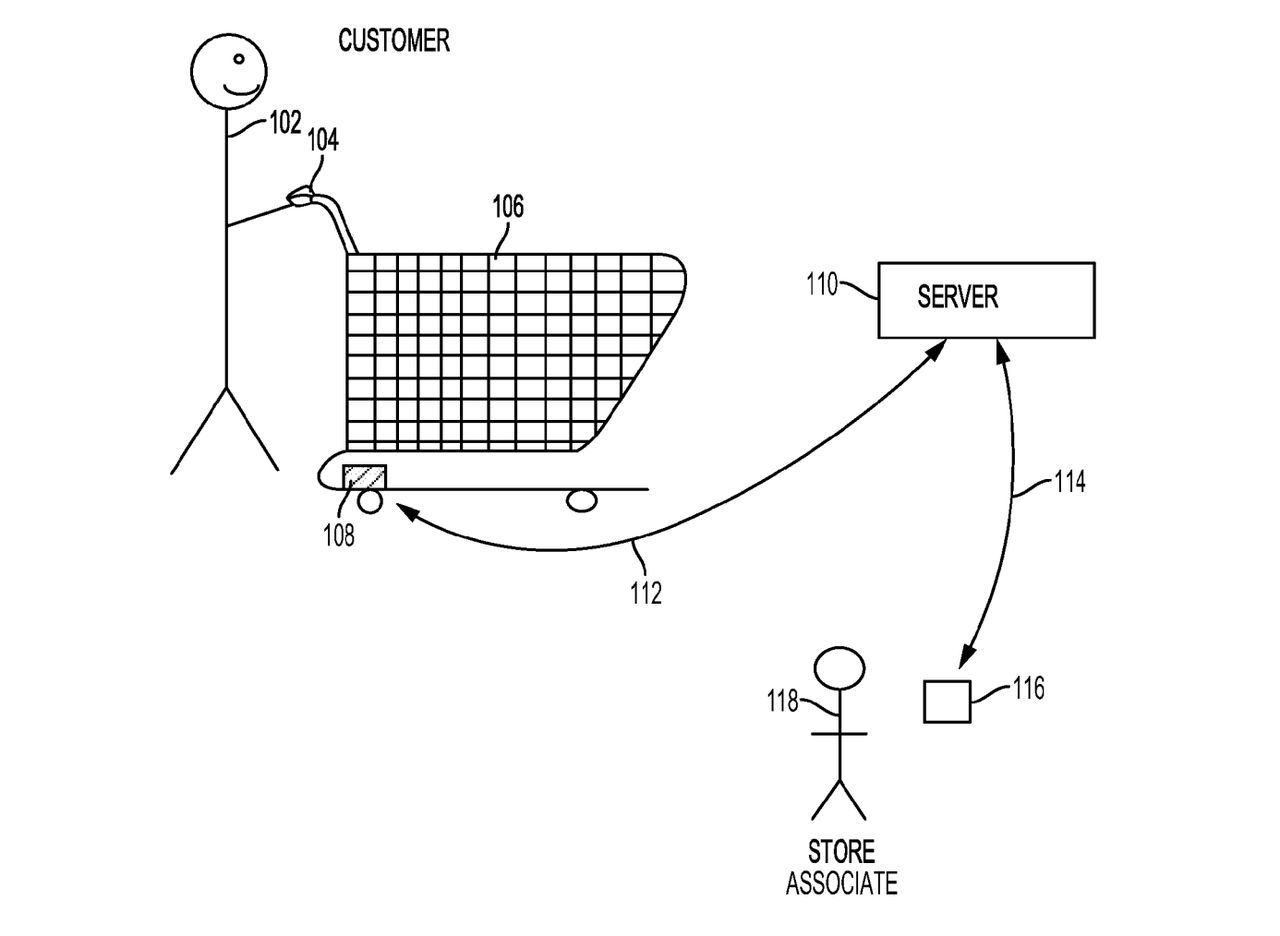
Monitory aktywności mogą się przydać nie tylko podczas treningów. Wózki z sensorami monitorującymi tętno i temperaturę ciała osoby robiącej zakupy, siłę ściskania rączki wózka oraz tempo poruszania się mogą pomóc ulepszyć układ sklepów i ułatwić nam zakupy. Kierunek wydaje się dobry, ale pytanie, czy zbierane w ten sposób dane będą rzeczywiście wykorzystywane na korzyść klienta. Wózki zostały opracowane w jednej z amerykańskich sieci handlowych, ale mogą trafić też do europejskich marketów.

Obraz

Mając do dyspozycji dodatkowo dane o położeniu klienta na powierzchni sklepu i jego podstawowe dane biometryczne, obsługa sklepu może uważnie monitorować miejsca, w których robiący zakupy będzie się denerwował lub relaksował. Na podstawie tych danych będzie możliwe zrobienie dwóch rzeczy. W dłuższej perspektywie sklep będzie mógł przygotować mapę miejsc, w których klienci czują się niekomfortowo i przemyśleć ich układ, wystrój lub sposób obsługi. Może to wpłynąć korzystnie na liczbę otwartych w określonych godzinach kas czy ekspozycję produktów w bliskim sąsiedztwie.

Projektowanie wystaw sklepowych i planowanie układu marketów to trudne zadanie, nad którym specjaliści spędzają całe lata. Celem jednak nie zawsze jest wygoda, ale granie na naszych impulsach. W momencie, gdy musztarda leży w pobliżu wędlin, a słone przekąski koło piwa, nasz układ limbiczny reaguje na korzystną sytuację. Ten sygnał trudno powstrzymać, co skutkuje impulsywnymi zakupami. Bywa to korzystne, na przykład kiedy stoisko z warzywami i owocami jest blisko wejścia, a towary na nich pięknie oświetlone i umieszczone na wysokości wzroku klienta, by zachęcać do zdrowej diety. Do idealnie okrągłych jabłek i prostych marchewek przyzwyczailiśmy się do tego stopnia, że teraz trzeba organizować przeceny na nieidealne produkty. Tak samo działają promocje, oznaczenia bestsellerów, a nawet sklepowa muzyka. Dane biometryczne mogą zweryfikować i udoskonalić te metody, byśmy mogli robić zakupy bez stresu.

Drugi z zabiegów jest szybszy i moim zdaniem bezsensowny. W reakcji na zestresowanego klienta w pobliżu pracownik sklepu może podejść do tej osoby i zaoferować pomoc. Brzmi dobrze? Jeśli szukamy jakiegoś produktu, jak najbardziej (o ile pracownik będzie w stanie wskazać drogę do niego, z czym też różnie bywa). A jeśli powodem stresu jest coś innego? Goście już są w drodze, a ty nadal nie możesz znaleźć czarnych oliwek do sałatki. Za pół godziny musicie być na zajęciach, a dzieci nie chcą wyjść z działu z zabawkami. Wydawało ci się, że przy pieczywie widziałeś byłą dziewczynę z nowym chłopakiem. Albo masz w wózku już wszystko i chcesz iść do kasy, ale mąż dzwoni i prosi jeszcze o kilka rzeczy… trzeci raz. Przykłady można mnożyć, a każdy z nich jest ostatnim momentem, kiedy masz ochotę tłumaczyć pracownikowi marketu, że jego pomoc ani trochę nie jest ci potrzebna. Może po prostu nie lubisz robić zakupów i stresuje cię przebywanie w dużym markecie.

Obraz

Zbieranie biometrycznych danych miałoby też pomóc w przypadku, gdy grupa klientów wdaje się w kłótnię, co w marketach zdarza się dość często na każdym kontynencie. To wykorzystanie sensorów jest jednak naciągane. Przecież kiedy dochodzi do awantury, trudno utrzymać ręce na wózku z zakupami. Ponadto nie trzeba odczytywać danych biometrycznych, by wiedzieć, że w alejce z przecenionymi telewizorami zaraz może dojść do rękoczynów.

Pracownicy sklepu nie będą mieli możliwości sprawdzenia, czy przyczyną stresu klienta jest problem sklepowy, czy jego życie osobiste. Nie przeszkadzało to amerykańskiej sieci Walmart opatentować taki wózek z sensorami, a także system zbierania i wykorzystywania danych do pomagania klientom. Naszpikowany sensorami wózek może też dostarczać dane o stanie zdrowia klienta i zaalarmować obsługę sklepu, jeśli ktoś zasłabnie. Wózki dostaną też system wspomagający napęd, by przewożenie ciężkich zakupów było łatwiejsze. Ze wszystkich proponowanych nowości tylko ta ostatnia wydaje się być korzystna dla klientów. Cały patent wygląda, jakby jego autor nigdy nie był na większych zakupach.

Źródło artykułu: www.dobreprogramy.pl
Wybrane dla Ciebie
CERT Polska ostrzega przed fałszywymi powiadomieniami KSeF
CERT Polska ostrzega przed fałszywymi powiadomieniami KSeF
Problem z Blikiem i kartami Visa. Od rana usterka płatności (aktualizacja)
Problem z Blikiem i kartami Visa. Od rana usterka płatności (aktualizacja)
Awaryjne aktualizacje dla Windows Server. Rozwiązują usterki
Awaryjne aktualizacje dla Windows Server. Rozwiązują usterki
Zastrzegasz PESEL? Są dwa wyjątki
Zastrzegasz PESEL? Są dwa wyjątki
Możesz stracić fanpage. Wyjątkowo autentyczny atak
Możesz stracić fanpage. Wyjątkowo autentyczny atak
Fałszywy SMS. Oszuści podszywają się pod ZUS
Fałszywy SMS. Oszuści podszywają się pod ZUS
Żabka stworzy kartę płatniczą. Wybrała dużego partnera
Żabka stworzy kartę płatniczą. Wybrała dużego partnera
PKO Bank Polski wydał komunikat. Uważaj, kto dzwoni
PKO Bank Polski wydał komunikat. Uważaj, kto dzwoni
Nowości w mObywatelu. Dodano trzy funkcje
Nowości w mObywatelu. Dodano trzy funkcje
Ważny komunikat Alior Banku. Dotyczy wszystkich klientów
Ważny komunikat Alior Banku. Dotyczy wszystkich klientów
Uznański-Wiśniewski: To AI wybiera, co warto przesłać z orbity
Uznański-Wiśniewski: To AI wybiera, co warto przesłać z orbity
Czarna lista w telefonie. Jak zablokować niechciane połączenia?
Czarna lista w telefonie. Jak zablokować niechciane połączenia?
ZATRZYMAJ SIĘ NA CHWILĘ… TE ARTYKUŁY WARTO PRZECZYTAĆ 👀