Microsoft ma patent na szybkie bezprzewodowe ładowanie. Kluczem jest użycie kilku cewek

Microsoft może niedługo zaskoczyć swoich klientów nowymi rozwiązaniami w zakresie bezprzewodowego ładowania akumulatorów. Jak zwrócono uwagę na łamach serwisu Windows Latest, producent opatentował w ubiegłym roku nowy sposób bezprzewodowego, szybkiego ładowania baterii. Kluczem do sukcesu okazuje się zastosowanie kilku modułów i cewek, a w konsekwencji również kontrolerów. Na razie nie wiadomo kiedy opisywana technologia mogłaby trafić do produkcji, ale już teraz zaczęły się spekulacje, iż z pewnością tego typu ładowanie zwiększyłoby atrakcyjność oferowanych przez Microsoft tabletów i laptopów z serii Surface.

Microsoft ma pomysł na szybsze, bezprzewodowe ładowanie urządzeń (depositphotos)Microsoft ma pomysł na szybsze, bezprzewodowe ładowanie urządzeń (depositphotos)
Oskar Ziomek

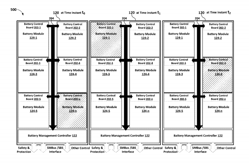
Patent, który dopiero niedawno został opublikowany, opisuje zasadę działania ładowania, w której kluczową rolę odgrywa tak zwany inteligentny akumulator. Ten składa się z kilku modułów zarządzanych przez wiele kontrolerów, a do ładowania wykorzystywanych jest wiele cewek. To rozwiązanie zgoła odmienne od bieżącej implementacji bezprzewodowego ładowania. Obecnie wykorzystywana jest bowiem tylko jedna ładująca cewka. Nowe podejście proponowane przez Microsoft ma poskutkować dużo większą wydajnością przy zachowaniu komfortu ładowania bez użycia przewodów.

Schemat działania wielu modułów i kontrolerów inteligentnego akumulatora, fragment patentu.
Schemat działania wielu modułów i kontrolerów inteligentnego akumulatora, fragment patentu.

Konwencjonalne rozwiązania do bezprzewodowego ładowania inteligentnych akumulatorów nie wykorzystują więcej niż jednej cewki ładującej na ogniwo i nie uwzględniają fizycznej konfiguracji cewek ładowania akumulatora. Co więcej, rozwiązania te nie zarządzają każdym modułem inaczej i niezależnie od innych modułów inteligentnego systemu akumulatorowego, zmniejszając w ten sposób funkcjonalność i elastyczność inteligentnej baterii... – czytamy we fragmencie patentu. Opatentowane rozwiązanie ma te niedociągnięcia usuwać. Jeśli nowa technologia ujrzy światło dzienne, jej implementacji będzie się można spodziewać w pierwszej kolejności najpewniej wyłącznie w tabletach i być może laptopach Microsoftu.

Jako ciekawostkę warto także dodać, że eksperymenty z wykorzystaniem wielu cewek w przypadku ładowania bezprzewodowego dotyczą także sprzętu Apple. Firma zapowiedziała już niemal rok temu, iż na rynku pojawi się wkrótce ładowarka AirPower zdolna do bezprzewodowego ładowania dowolnie umieszczonych na niej trzech urządzeń. Mowa oczywiście o iPhonie, słuchawkach AirPods oraz zegarku Apple Watch. W tym przypadku wykorzystanie kilku cewek nie jest jednak związane bezpośrednio z wydajnością i sposobem ładowania pojedynczego akumulatora, toteż w tym przypadku mowa jest o innym kierunku rozwoju związanego z wykorzystaniem więcej niż jednego modułu ładowania.

Źródło artykułu: www.dobreprogramy.pl
Wybrane dla Ciebie
Komisja Europejska nalega. Chodzi o bezpieczeństwo najmłodszych
Komisja Europejska nalega. Chodzi o bezpieczeństwo najmłodszych
Nie musisz otwierać Photoshopa. Claude zrobi wszystko za ciebie
Nie musisz otwierać Photoshopa. Claude zrobi wszystko za ciebie
Niebezpieczny trend na TikToku. Wykorzystują do niego dzieci
Niebezpieczny trend na TikToku. Wykorzystują do niego dzieci
Aktualizacja Google Home. Sterowanie szybsze o 1,5 sekundy
Aktualizacja Google Home. Sterowanie szybsze o 1,5 sekundy
Oszustwo "na wypadek". Seniorka miała oddać 50 tys. zł
Oszustwo "na wypadek". Seniorka miała oddać 50 tys. zł
Komunikat mBanku. Dotyczy wszystkich klientów
Komunikat mBanku. Dotyczy wszystkich klientów
Rejestracja auta w mObywatelu. Wiadomo, od kiedy będzie możliwa
Rejestracja auta w mObywatelu. Wiadomo, od kiedy będzie możliwa
Podejrzewasz wyciek danych? Wykorzystaj mObywatela
Podejrzewasz wyciek danych? Wykorzystaj mObywatela
SMS Blastery w autach. Jak działa atak?
SMS Blastery w autach. Jak działa atak?
Yanosik komentuje raport Policji. Co jest przyczyną wypadków?
Yanosik komentuje raport Policji. Co jest przyczyną wypadków?
CERT Orange: AI napędza fałszywe sklepy w sieci
CERT Orange: AI napędza fałszywe sklepy w sieci
Ta aplikacja zmieniła świat. Obchodzi 20. urodziny
Ta aplikacja zmieniła świat. Obchodzi 20. urodziny
ZACZEKAJ! ZOBACZ, CO TERAZ JEST NA TOPIE