Microsoft patentuje okulary rozszerzonej rzeczywistości

Microsoft opatentował projekt inteligentnych okularów, które będą w stanie rozpoznawać i przewidywać zachowanie przedmiotów. Czy w końcu zobaczmy konkurencję dla Google Glass od korporacji z Redmond?

Microsoft patentuje okulary rozszerzonej rzeczywistości

Google Glass - okulary rozszerzonej rzeczywistości, które cieszą się ogromnym zainteresowaniem, nie tylko wśród geeków. Według założeń producenta mają być uzupełnieniem naszego smartfona lub nawet go zastąpić. Niestety nadal jest duży problem z ich dostępnością, zwłaszcza poza granicami Stanów Zjednoczonych. Projekt Google wzbudza zazdrość innych firm, które też chciałaby mieć własne okulary do wspomagania rzeczywistości. Wśród nich znalazł się Samsung, który ostatnio stara się kreować na innowacyjną firmę, patrząc na ich najnowszy sprzęt można stwierdzić, że pod wieloma względami wychodzi mu to całkiem nieźle i nie zdziwiłbym się, gdyby to Koreańczycy jako pierwsi pokazali własną odpowiedź na okulary od Google. W tym gronie nie mogło też zabraknąć Microsoftu, który zawsze starał się konkurować z Google i Apple w każdym segmencie.

Obraz

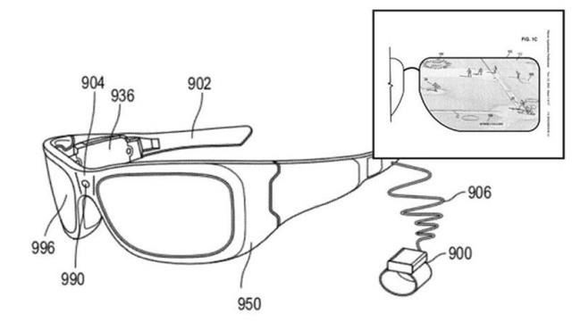
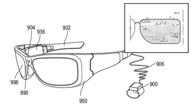
Gigant z Redmond złożył patent na urządzenie, które prawdopodobnie będzie konkurencją dla Google Glass. Jedną z najbardziej interesujących funkcji będzie rozpoznawanie przedmiotów, a także przewidywanie ich zachowania. Rozwiązanie może być wykorzystane, między innymi do ostrzegania przed zbliżającym się samochodem czy elementami otoczenia, które mogą stanowić zagrożenie, chociażby ze względu na swoją budowę czy działanie. Okulary mają też analizować obraz i dźwięk, co pozwoli na lepsze połączenie realnego świata z wirtualnym.

Obraz

Należy pamiętać, że zgłoszenie patentu nie oznacza, że w najbliższym czasie zobaczymy odpowiedź Microsoftu na Google Glass. Możliwe, że okulary w ogóle nie trafią do sprzedaży i będą tylko wstępnym projektem, który nie wyjdzie spoza wewnętrznych beta testów. Jednak z drugiej strony o pierwszych planach giganta z Redmond dotyczących okularów rozszerzonej rzeczywistości słyszeliśmy już w 2013 i nowe patenty mogą być rozszerzeniem tamtego projektu, który na rynku miał pojawić się w tym roku.

Programy

Zobacz więcej
Źródło artykułu:www.dobreprogramy.pl

Wybrane dla Ciebie

Komentarze (25)