Nadchodzi zwijany smartfon-bransoletka. Samsung patentuje konstrukcję

Smartfon zwijany do bransolety to konstrukcja, na którą czekam od dawna. Czy Samsung spełni moje marzenie? Na razie ma patent, pewnie ma też prototyp, ale czy uda się wprowadzić takie urządzenie na rynek?

Nadchodzi zwijany smartfon-bransoletka. Samsung patentuje konstrukcjęNadchodzi zwijany smartfon-bransoletka. Samsung patentuje konstrukcję

Takich prototypów było mnóstwo

Pomysł na smartfon, który można zawinąć wokół nadgarstka, pojawił się wiele lat temu. Konstrukcję tego typu opatentowała Nokia, podobne urządzenie proponował Philips (Philips Fluid), a w 2016 roku Lenovo pokazywało prototypu zwijanego CPlus.

Lenovo CPlus (2016)
Lenovo CPlus (2016)

Jak dotąd żadnego takiego smartfonu nie da się kupić. Dopiero raczkują konstrukcje składane na pół, których ekrany nie zachwycają trwałością. Niektóre egzemplarze zepsuły się w ciągu dwóch dni.

Problemy z elastycznym ekranem studzą optymizm. Minie jeszcze wiele lat, zanim Samsung wprowadzi taki bransoletkofon na rynek.

Szczegóły patentu Samsunga

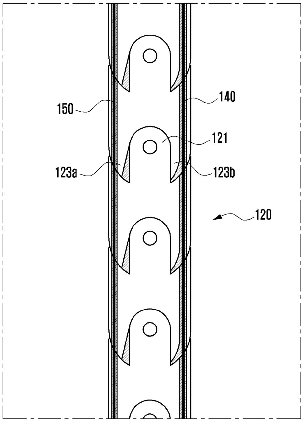
Samsung złożył wniosek patentowy, prezentujący urządzenie podobne do wymienionych powyżej konstrukcji Philipsa i Lenovo. Do wniosku dołączone zostały schematy nowej konstrukcji. Projekt zakłada, że będzie można ten smartfon zwinąć i używać jako smartzegarka. Obudowa przypomina łuski węża albo kręgosłup. Wewnętrzna strona („plecki”) będzie się skracać przy zwijaniu, zewnątrzną zaś zamie elastyczny ekran.

  • ilustracja z patentu Samsunga
  • Ilustracja z patentu Samsunga
[1/2] ilustracja z patentu Samsunga Źródło zdjęć: |

Wniosek został złożony jesienią 2018 roku, a patent przyznany. Samsung ma więc wolną rękę i może spokojnie wprowadzać urządzenie na rynek. Tylko kiedy się to stanie?

Ilustracja z patentu Samsunga
Ilustracja z patentu Samsunga
Render LetsGoDigital
Render LetsGoDigital

Zbudowanie takiego smartfona jest trudniejsze niż składanego na pół Galaxy Fold. Na smartfon marzeń z logo Samsunga będę musiała poczekać kilka lat. Potem kolejnych kilka, aż konstrukcja zostanie dopracowana i stanieje.

Patenty Samsunga na Galaxy Fold również wyprzedzały realny produkt o kilka lat. Galaxy Fold do dziś nie można uznać za smartfon ukończony.

Rendery zamieszczone w tym artykule przygotował portal LetsGoDigital na podstawie ilustracji z patentu.

Źródło artykułu: www.dobreprogramy.pl
Wybrane dla Ciebie
Możesz stracić fanpage. Wyjątkowo autentyczny atak
Możesz stracić fanpage. Wyjątkowo autentyczny atak
Fałszywy SMS. Oszuści podszywają się pod ZUS
Fałszywy SMS. Oszuści podszywają się pod ZUS
Żabka stworzy kartę płatniczą. Wybrała dużego partnera
Żabka stworzy kartę płatniczą. Wybrała dużego partnera
PKO Bank Polski wydał komunikat. Uważaj, kto dzwoni
PKO Bank Polski wydał komunikat. Uważaj, kto dzwoni
Nowości w mObywatelu. Dodano trzy funkcje
Nowości w mObywatelu. Dodano trzy funkcje
Ważny komunikat Alior Banku. Dotyczy wszystkich klientów
Ważny komunikat Alior Banku. Dotyczy wszystkich klientów
Uznański-Wiśniewski: To AI wybiera, co warto przesłać z orbity
Uznański-Wiśniewski: To AI wybiera, co warto przesłać z orbity
Czarna lista w telefonie. Jak zablokować niechciane połączenia?
Czarna lista w telefonie. Jak zablokować niechciane połączenia?
Nowość w Zdjęciach Google. Wygodniejsza edycja fotografii
Nowość w Zdjęciach Google. Wygodniejsza edycja fotografii
Atak hakerski na Booking. Zdobyli dane klientów
Atak hakerski na Booking. Zdobyli dane klientów
Luka 0-day w Adobe Reader. Wystarczy spreparowany PDF
Luka 0-day w Adobe Reader. Wystarczy spreparowany PDF
Zaktualizuj Windowsa: wydano kwietniowe poprawki
Zaktualizuj Windowsa: wydano kwietniowe poprawki
ZACZEKAJ! ZOBACZ, CO TERAZ JEST NA TOPIE 🔥