Pilnujcie portfeli gracze, bo Microsoft chce zarabiać na inteligentnych koralikach

Kopiowanie pomysłów, które się przyjęły, przy jednoczesnej modyfikacji oryginalnego projektu, to rzecz normalna także w branży sprzętu oraz gier. Wystarczy przypomnieć, jak po sukcesie kontrolerów ruchowych od Wii nagle do zabawy wszystkie członki (i członków rodziny) postanowili zaprzęgnąć też Sony z Microsoftem. Ta ostatnia firma w tej chwili szykuje coś stanowiącego swoiste przetworzenie idei zbierania figurek z NFC.

Obraz
Obraz

Nintendo wyszło trochę z dołka finansowego dzięki kolekcji postaci z gier amiibo, Activision ma swoje gry Skylanders z figurkami na podstawkach, Disney kolejne odsłony systemu Infinity, a Warner Bros. kombinuje ze zbieraniem ludków LEGO. Do tego trendu na swój sposób spróbuje prawdopodobnie niebawem dołączyć Redmond. Co ciekawe, w niedawnym patencie firmy mówi się nie o bohaterach z takich produkcji jak Gears of War czy Halo, ustawianych na specjalnej przystawce, umożliwiającej przenoszenie zabawek do wirtualnego świata, lecz akcesorium zahaczającym o modę.

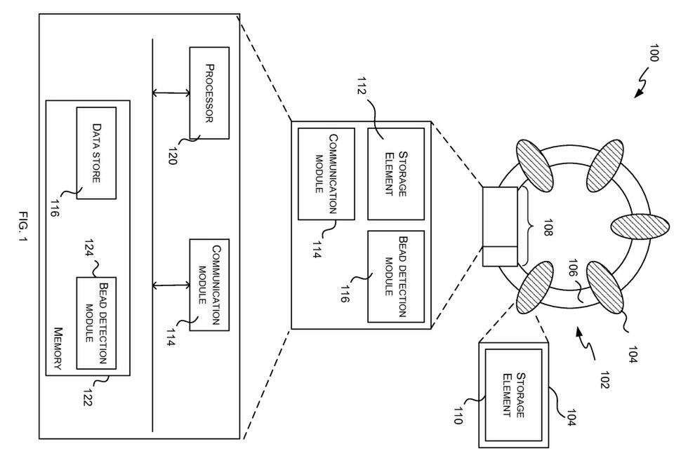
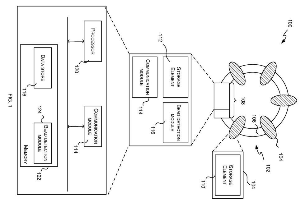
Microsoft wymyślił sobie bowiem system inteligentnych koralików, czyli tzw. smart beads, podczepiając się także pod szał na nosidła, a więc technologię ubieralną. Na specjalną bransoletkę nawlekać będziemy paciorki, każdy identyfikowany niezależnie i zawierający jakieś dane, w zależności od zastosowania korali w określonym programie. Znaczenie np. w grze może mieć również kolejność ułożenia elementów. Miłośnicy komiksów i gier z herosami wydawnictwa Marvel niech zaczną myśleć o tym jak o rękawicy nieskończoności. Dla dziewczyn to będzie po prostu przy okazji świecidełko.

Obraz

Bransoletka przechowywać miałaby również różnorakie informacje o użytkowniku i być kompatybilna z PC, konsolami, jak też urządzeniami przenośnymi. Rozciągnięcie jej użyteczności poza gry w sumie także nie byłoby pewnie wykluczone, ale na razie mamy po prostu pierwsze przymiarki do realizacji pewnej raczkującej idei. Czy za kilka lat Microsoft będzie kojarzył się z nowym pokoleniem techno-hipisów, w koralikach od stóp do głów i z HoloLens na oczach? Nieprawdopodobne, ale czemu nie możliwe...

Źródło artykułu: www.dobreprogramy.pl
Wybrane dla Ciebie
Nowości w mObywatelu. Dodano trzy funkcje
Nowości w mObywatelu. Dodano trzy funkcje
Ważny komunikat Alior Banku. Dotyczy wszystkich klientów
Ważny komunikat Alior Banku. Dotyczy wszystkich klientów
Uznański-Wiśniewski: To AI wybiera, co warto przesłać z orbity
Uznański-Wiśniewski: To AI wybiera, co warto przesłać z orbity
Czarna lista w telefonie. Jak zablokować niechciane połączenia?
Czarna lista w telefonie. Jak zablokować niechciane połączenia?
Nowość w Zdjęciach Google. Wygodniejsza edycja fotografii
Nowość w Zdjęciach Google. Wygodniejsza edycja fotografii
Atak hakerski na Booking. Zdobyli dane klientów
Atak hakerski na Booking. Zdobyli dane klientów
Luka 0-day w Adobe Reader. Wystarczy spreparowany PDF
Luka 0-day w Adobe Reader. Wystarczy spreparowany PDF
Zaktualizuj Windowsa: wydano kwietniowe poprawki
Zaktualizuj Windowsa: wydano kwietniowe poprawki
Wyciek danych klientów polskich sklepów. 130 tys. pokrzywdzonych
Wyciek danych klientów polskich sklepów. 130 tys. pokrzywdzonych
mBank zmienia wymagania aplikacji. Niektórzy muszą wymienić telefon
mBank zmienia wymagania aplikacji. Niektórzy muszą wymienić telefon
Awaria w Pekao S.A. Problem z bankowością (aktualizacja)
Awaria w Pekao S.A. Problem z bankowością (aktualizacja)
Zakazy social mediów dla nastolatków. Eksperci widzą problem
Zakazy social mediów dla nastolatków. Eksperci widzą problem
ZANIM WYJDZIESZ... NIE PRZEGAP TEGO, CO CZYTAJĄ INNI! 👇