Samsung z nietypowym pomysłem na rysik. Galaxy Note mógłby nie mieć przedniej kamery

Jednym z największych atutów serii smartfonów Galaxy Note jest rysik S Pen. Stał się on wręcz nieodłącznym elementem kojarzonym z tymi urządzeniami i to właśnie jego obecność sprawia, że część osób decyduje się na zakup drogiego smartfonu Samsunga. Niebawem rysik może stać się jeszcze ciekawszy – producent rozważa bowiem wyposażenie go w kamerę.

Rysik S Pen w Galaxy Note 9.Rysik S Pen w Galaxy Note 9.

Rysik S Pen, dołączany do każdego smartfonu z linii Galaxy Note, może liczyć na ciągłe modernizacje. W końcu, jak już wspomniałem, uważany jest on za jedną z głównych zalet tych urządzeń i napędza sprzedaż. Jego ostatnia wersja, która sprzedawana jest wraz z modelem Note 9, pozwala na zdalne sterowanie wybranymi funkcjami smartfonu, w tym odtwarzaniem muzyki i robieniem zdjęć.

Rysik S Pen z wbudowaną kamerą

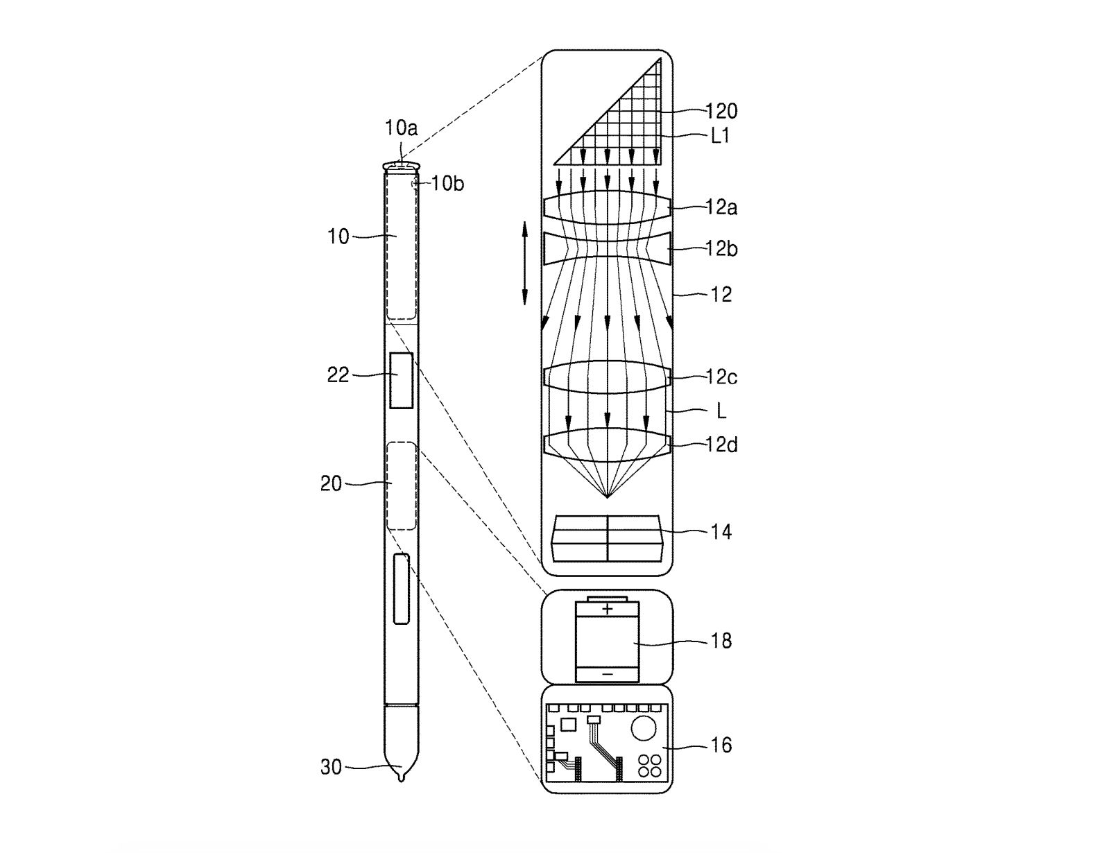
Nowy patent, który został przyznany Samsungowi, opisuje bardziej nietypowe zastosowanie rysika. Miałby on posiadać wbudowaną kamerkę z optycznym zoomem. Do obsługi wykorzystywany byłby przycisk umieszczony na samym rysiku. Oczywiście zastosowana kamera mogłaby służyć zarówno do robienia zwykłych zdjęć, jak i do selfie.

Nowy rysik Samsunga z wbudowaną kamerą. (źródło: androidpolice.com)
Nowy rysik Samsunga z wbudowaną kamerą. (źródło: androidpolice.com)

Potencjalnie, przeniesienie kamerki do rysika mogłoby wyeliminować konieczność stosowania przedniej kamerki. Samsung mógłby więc zrobić prawie bezramkowy smartfon, który byłby pozbawiony notcha, otworu w ekranie czy ewentualnie mechanizmu z wysuwaną kamerą. Takie urządzenie oferowałoby większą powierzchnię ekranu, a ponadto usunięcie kamerki mogłoby przełożyć się na smuklejszą konstrukcję.

Warto jednak zaznaczyć, że mamy do czynienia wyłącznie z patentem. Przedstawiony pomysł może bowiem nie trafić do finalnego urządzenia. Tym bardziej, że Samsung ostatnio coraz częściej stosuje wyświetlacze Infinity-O z otworem na kamerkę, a także zamierza wprowadzić do sprzedaży smartfon z notchem.

Źródło artykułu: www.dobreprogramy.pl
Wybrane dla Ciebie
Koniec dominacji USA w Europie? Francja porzuca Windowsa
Koniec dominacji USA w Europie? Francja porzuca Windowsa
Ministerstwo Cyfryzacji zachwala mSzyfr. Nowy, bezpieczny komunikator
Ministerstwo Cyfryzacji zachwala mSzyfr. Nowy, bezpieczny komunikator
Zapłacą 99 mln dol. Pozwolą naprawić ciągniki bez oficjalnego serwisu
Zapłacą 99 mln dol. Pozwolą naprawić ciągniki bez oficjalnego serwisu
Komunikat Pekao S.A. Dotyczy wszystkich klientów
Komunikat Pekao S.A. Dotyczy wszystkich klientów
Copilot znika. Microsoft wycofuje się z agresywnej promocji
Copilot znika. Microsoft wycofuje się z agresywnej promocji
Santander Bank Polska zmienia nazwę. Będzie nowy adres WWW
Santander Bank Polska zmienia nazwę. Będzie nowy adres WWW
Masz mObywatela? Niektóre funkcje będą niedostępne
Masz mObywatela? Niektóre funkcje będą niedostępne
Awaria w Alior Banku. Nie działa aplikacja (aktualizaja)
Awaria w Alior Banku. Nie działa aplikacja (aktualizaja)
Ostrzeżenie CERT Orange. "Karta SIM wymaga aktualizacji"
Ostrzeżenie CERT Orange. "Karta SIM wymaga aktualizacji"
Koniec Messenger.com. Wszystko, co musisz wiedzieć
Koniec Messenger.com. Wszystko, co musisz wiedzieć
Microsoft potwierdza: Windows 11 przyspieszy
Microsoft potwierdza: Windows 11 przyspieszy
ProgramData - co to jest i czy można tam sprzątać?
ProgramData - co to jest i czy można tam sprzątać?
MOŻE JESZCZE JEDEN ARTYKUŁ? ZOBACZ CO POLECAMY 🌟