Czy właśnie tak powinna wyglądać nakładka na Androida od Samsunga?

Wśród najczęściej wymienianych wad smartfonów Samsunga, znajdziemy nieprzychylne opinie o plastikowych obudowach, a także o nakładce TouchWiz na Androida. Jej użytkownicy głównie narzekają na negatywny wpływ na płynność działania zielonego robocika. Na flagowych modelach, takich jak Galaxy S5 czy Note 3, zmodyfikowany przez południowokoreańską firmę Android działa naprawdę dobrze. Jednak na tańszych urządzeniach nadal mogą pojawić się chwilowe spadki płynności. Mimo iż nakładka TouchWiz nie słynie ze zbyt dobrej optymalizacji, to z pewnością nie można jej odmówić funkcjonalności i intuicyjności. Tutaj warto wspomnieć chociażby o możliwości uruchomienia dwóch aplikacji jednocześnie na podzielonym ekranie, zalety tego rozwiązania docenią zwłaszcza użytkownicy fabletów i tabletów Samsunga.

Obraz

Ogólnie TouchWiz nie jest złą nakładką i z pewnością posiada wiele zalet. Jednak sporo osób nie jest z niej zadowolona. Ostatnie wersje nie wprowadzały rewolucyjnych zmian i przynosiły głównie niewielkie zmiany w interfejsie. Przeciwnicy TouchWiza nie byli z tego powodu zadowoleni, zamiast oczekiwanych większych zmian, otrzymywali tylko drobne usprawnienia. W związku z tym nadal lepszym rozwiązaniem były dla nich konkurencyjne produkty. Jednak już niedługo może się to zmienić. Jeśli wierzyć niepotwierdzonym informacjom, to następna wersja nakładki Samsunga przyniesie poważniejsze zmiany.

  • Obraz
  • Obraz
[1/2] Źródło zdjęć: |

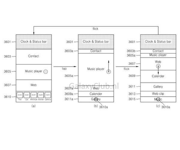
Na rysunkach, które przedstawiają Iconic UX, możemy zobaczyć, że interfejs przeszedł poważniejsze zmiany. Samsung stawia na jeszcze większą wielozadaniowość i łatwiejszy dostęp do informacji z różnych aplikacji na jednym ekranie. Nacisk został położony również na gesty, które mają usprawnić poruszanie się po nowej nakładce. Elementy na ekranie będziemy mogli wygodnie przesuwać, co pozwoli nam na lepszą personalizację. Iconic UX w pewnym stopniu przypomina Magazine UX, czyli specjalny, dodatkowy ekran w nowszych wersjach TouchWiz, na którym mogliśmy mieć szybki dostęp do informacji, kalendarza, portali społecznościowych, czy też do poczty.

  • Obraz
  • Obraz
[1/2] Źródło zdjęć: |

Informacje o tym, że Samsung nie zamierza tylko nieznacznie usprawniać obecnej nakładki cieszą. Jednak czy to właśnie na takie zmiany czekaliśmy. Na pierwszych obrazach, momentami można odnieść wrażenie, że na jednym ekranie znajduje się zbyt dużo elementów, przez co czytelność jest dość słaba. W Iconic UX zostały wprowadzone spore zmiany i z pewnością nowa nakładka Samsunga w niektórych momentach odstaje od czystego Androida. Niestety takie podejście firmy może zniechęcić klientów, którzy przyzwyczaili się do produktów innych producentów. Mimo iż na większości smartfonów z Androidem znajdziemy różne nakładki, to ich obsługa jest bardzo podobna i ewentualna przesiadka na model innego producenta nie stanowi większego problemu.

Jeśli Samsung chce poprawić opinie o swoje nakładce na Androida, to powinien skupić się głównie na jej optymalizacji. Oprócz zmniejszenia zapotrzebowania na RAM, południowokoreańska firma powinna zastanowić się nad domyślnie instalowanymi aplikacjami, których nie można usunąć, a jest ich naprawdę sporo.

Źródło artykułu: www.dobreprogramy.pl
Wybrane dla Ciebie
Zakazy social mediów dla nastolatków. Eksperci widzą problem
Zakazy social mediów dla nastolatków. Eksperci widzą problem
Zagrożenia w sieci. Na nie narażone są dzieci
Zagrożenia w sieci. Na nie narażone są dzieci
Sextortion: na czym polega internetowy szantaż?
Sextortion: na czym polega internetowy szantaż?
Koniec dominacji USA w Europie? Francja porzuca Windowsa
Koniec dominacji USA w Europie? Francja porzuca Windowsa
Ministerstwo Cyfryzacji zachwala mSzyfr. Nowy, bezpieczny komunikator
Ministerstwo Cyfryzacji zachwala mSzyfr. Nowy, bezpieczny komunikator
Zapłacą 99 mln dol. Pozwolą naprawić ciągniki bez oficjalnego serwisu
Zapłacą 99 mln dol. Pozwolą naprawić ciągniki bez oficjalnego serwisu
Komunikat Pekao S.A. Dotyczy wszystkich klientów
Komunikat Pekao S.A. Dotyczy wszystkich klientów
Copilot znika. Microsoft wycofuje się z agresywnej promocji
Copilot znika. Microsoft wycofuje się z agresywnej promocji
Santander Bank Polska zmienia nazwę. Będzie nowy adres WWW
Santander Bank Polska zmienia nazwę. Będzie nowy adres WWW
Masz mObywatela? Niektóre funkcje będą niedostępne
Masz mObywatela? Niektóre funkcje będą niedostępne
Awaria w Alior Banku. Nie działa aplikacja (aktualizaja)
Awaria w Alior Banku. Nie działa aplikacja (aktualizaja)
Ostrzeżenie CERT Orange. "Karta SIM wymaga aktualizacji"
Ostrzeżenie CERT Orange. "Karta SIM wymaga aktualizacji"
ZACZEKAJ! ZOBACZ, CO TERAZ JEST NA TOPIE 🔥