Sony patentuje kontroler Move z systemem ogrzewania i chłodzenia

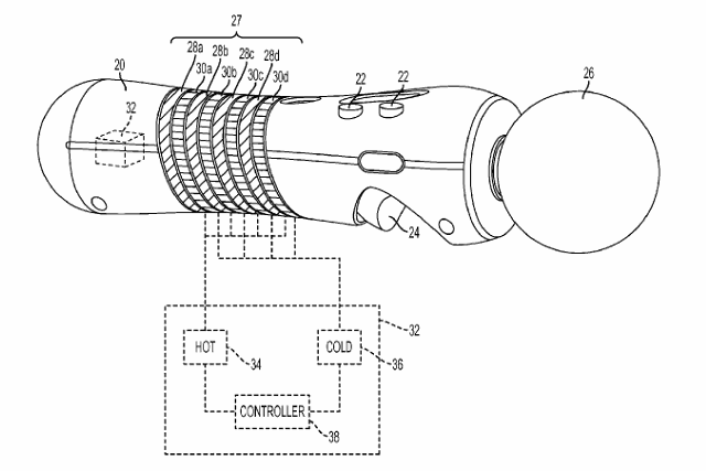
Sony pragnie najwyraźniej ocieplić (tudzież oziębić, zależy jak na to patrzeć) stosunki z tymi, których jeszcze do tej pory nie zachwyciła świecąca na różnorakie kolory końcówka kontrolera Move dla PlayStation 3, ani jego możliwości oddawania ruchu w grach. Firma opatentowała kolejną wersję manipulatora, wzbogaconą o system ogrzewania, a także chłodzenia dłoni. W zależności od sytuacji w grze, zrobi nam się gorąco, albo zimno.

Obraz

Rzecz jasna patent dostarcza kilka przykładów zastosowania opracowywanej technologii. Poza oczywistym pomysłem, jakim jest przenoszenie na Move temperatury wirtualnego miejsca (żar tropików lub antarktyczne mrozy) bądź sygnalizowanie udanej akcji (typu celne cięcie mieczem), pojawia się wizja przegrzewania broni przy ciągłych seriach w przeciwnika, nagrzewania ładowanej właśnie baterii czy otrzymywania „obrażeń” od wybuchów, zaklęć ognia lub lodu. Sony nie wyklucza współpracy kontrolera z urządzeniami zbierającymi dane biometryczne.

Źródło artykułu: www.dobreprogramy.pl
Wybrane dla Ciebie
Nowości w mObywatelu. Dodano trzy funkcje
Nowości w mObywatelu. Dodano trzy funkcje
Ważny komunikat Alior Banku. Dotyczy wszystkich klientów
Ważny komunikat Alior Banku. Dotyczy wszystkich klientów
Uznański-Wiśniewski: To AI wybiera, co warto przesłać z orbity
Uznański-Wiśniewski: To AI wybiera, co warto przesłać z orbity
Czarna lista w telefonie. Jak zablokować niechciane połączenia?
Czarna lista w telefonie. Jak zablokować niechciane połączenia?
Nowość w Zdjęciach Google. Wygodniejsza edycja fotografii
Nowość w Zdjęciach Google. Wygodniejsza edycja fotografii
Atak hakerski na Booking. Zdobyli dane klientów
Atak hakerski na Booking. Zdobyli dane klientów
Luka 0-day w Adobe Reader. Wystarczy spreparowany PDF
Luka 0-day w Adobe Reader. Wystarczy spreparowany PDF
Zaktualizuj Windowsa: wydano kwietniowe poprawki
Zaktualizuj Windowsa: wydano kwietniowe poprawki
Wyciek danych klientów polskich sklepów. 130 tys. pokrzywdzonych
Wyciek danych klientów polskich sklepów. 130 tys. pokrzywdzonych
mBank zmienia wymagania aplikacji. Niektórzy muszą wymienić telefon
mBank zmienia wymagania aplikacji. Niektórzy muszą wymienić telefon
Awaria w Pekao S.A. Problem z bankowością (aktualizacja)
Awaria w Pekao S.A. Problem z bankowością (aktualizacja)
Zakazy social mediów dla nastolatków. Eksperci widzą problem
Zakazy social mediów dla nastolatków. Eksperci widzą problem
MOŻE JESZCZE JEDEN ARTYKUŁ? ZOBACZ CO POLECAMY 🌟