Czytelnicy blogują - tygodniowy przegląd bloga dobrychprogramów

Kolejny tydzień za nami - jakie to ciekawe teksty opublikowali użytkownicy dobrychprogramów? Było trochę sprzętu, trochę oprogramowania i garść ciekawych felietonów. Zapraszamy na cotygodniowe podsumowanie blogów!

Obraz

Zaczynamy od recenzji mini-komputerka Intel NUC, a dokładniej jednej z tańszych wersji tej maszyny. Pamiętacie płytki Raspberry Pi? To także minikomputerki, lecz wyposażone w procesory ARM. Jakiś czas temu światło dzienne ujrzała nowa wersja RPI - Raspberry Pi A+ oraz B+. Fani płytek mogą zapoznać się też z wpisem na temat Intel Edison - jest to platforma deweloperska, której finalna wersja może stać się podstawą dla elektroniki ubieralnej. Takiej jak zegarki i plecaki ;-) Warto także odnotować, że Nokia (ta sama, która sprzedała Microsoftowi dział telefonów komórkowych) zaczyna podnosić się z kolan i atakuje rynek wysokiej klasy tabletem... z Androidem. Nokia N1 ma być produktem klasy premium, choć jego cena nie będzie wygórowana. Tablet Nokii ma kosztować 250 dolarów, czyli nieco ponad 1000 zł. Nieco tańsze są opisane przez RoninPn słuchawki HEPHAESTUS - kosztują około 320 zł.

Obraz

A co z pozostałymi tematami? Możecie przeczytać o stworzeniu własnego dyfuzora lampy błyskowej do aparatu i urządzenia do pomiaru temperatury i wilgotności. Warto też przeczytać o COMODO Secure DNS, które może zablokować nam dostęp do internetu i poradnik dotyczący stworzenia własnej wstążki dla Worda. Każdy z nas lubi mieć wybór - czy więc jesteśmy skazani na Gmaila i inne usługi Google? Kaisuj udowadnia, że nie i podaje przykłady alternatywnych rozwiązań. Polecamy także ciekawe gry na Androida, recenzje aplikacji pozwalającej na tablecie budować wirtualne papierowe modele i najnowsze wideo-podsumowanie blogów.

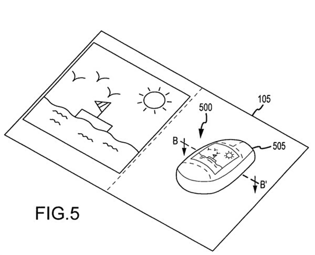
Najnowszy patent Apple - mysz z ekranem i skanerem
Najnowszy patent Apple - mysz z ekranem i skanerem

Na koniec odsyłamy Was do relacji z targów Electronica 2014 w Monachium i Hall of Games we Wrocławiu. Jeżeli jesteście ciekawi, jak od kuchni wyglądało organizowanie wyborów samorządowych, polecamy wpis Shaki81, operatora komisji obwodowej. Fani felietonów znajdą małe co nieco we sentymentalnym wpisie Kilgoura, przeczytają o urokach rezerwowania wizyt przez Internet i o tym, że warto walczyć o bycie programistą. A na deser coś ze świata Apple - amerykański gigant opatentował właśnie mysz ze skanerem i wyświetlaczem dotykowym. Zapraszamy do lektury!

Źródło artykułu: www.dobreprogramy.pl
Wybrane dla Ciebie
Zakazy social mediów dla nastolatków. Eksperci widzą problem
Zakazy social mediów dla nastolatków. Eksperci widzą problem
Zagrożenia w sieci. Na nie narażone są dzieci
Zagrożenia w sieci. Na nie narażone są dzieci
Sextortion: na czym polega internetowy szantaż?
Sextortion: na czym polega internetowy szantaż?
Koniec dominacji USA w Europie? Francja porzuca Windowsa
Koniec dominacji USA w Europie? Francja porzuca Windowsa
Ministerstwo Cyfryzacji zachwala mSzyfr. Nowy, bezpieczny komunikator
Ministerstwo Cyfryzacji zachwala mSzyfr. Nowy, bezpieczny komunikator
Zapłacą 99 mln dol. Pozwolą naprawić ciągniki bez oficjalnego serwisu
Zapłacą 99 mln dol. Pozwolą naprawić ciągniki bez oficjalnego serwisu
Komunikat Pekao S.A. Dotyczy wszystkich klientów
Komunikat Pekao S.A. Dotyczy wszystkich klientów
Copilot znika. Microsoft wycofuje się z agresywnej promocji
Copilot znika. Microsoft wycofuje się z agresywnej promocji
Santander Bank Polska zmienia nazwę. Będzie nowy adres WWW
Santander Bank Polska zmienia nazwę. Będzie nowy adres WWW
Masz mObywatela? Niektóre funkcje będą niedostępne
Masz mObywatela? Niektóre funkcje będą niedostępne
Awaria w Alior Banku. Nie działa aplikacja (aktualizaja)
Awaria w Alior Banku. Nie działa aplikacja (aktualizaja)
Ostrzeżenie CERT Orange. "Karta SIM wymaga aktualizacji"
Ostrzeżenie CERT Orange. "Karta SIM wymaga aktualizacji"
MOŻE JESZCZE JEDEN ARTYKUŁ? ZOBACZ CO POLECAMY 🌟