Activision patentuje kontrowersyjny system selekcji graczy w multiplayerze

Jeśli gracie w gry online to pewnie nie dziwi was fakt, że przepełnione są one różnymi mikropłatnościami w postaci specjalnych skrzyń z przedmiotami, kluczy czy skórek do postaci. Pomimo premiery pełnowartościowego produktu, niebawem wychodzi do niego płatne rozszerzenie uzupełniające w jakimś stopniu rozgrywkę. Activision podjęło bardzo kontrowersyjny krok, jeśli chodzi o opróżnianie naszego portfela.

Obraz

W 2015 roku firma Activision złożyła wniosek do Urzędu Patentowego dotyczący nowego systemu matchmakingu w grach wieloosobowych. Matchmaking w większości gier polega na dobieraniu graczy o podobnym poziomie doświadczenia/zaawansowania zarówno do drużyny sojuszniczej, jak i przeciwnej. Dzięki takiemu zabiegowi gracz, który dopiero stawia swoje pierwsze kroki w grze nie będzie rywalizować ze starymi wyjadaczami. Odpowiedni system dobierania graczy to podstawa każdej gry online, bo pozwala on zachować balans pomiędzy drużynami i każdy może czerpać radość z rozgrywki. Nowy matchmaking od Activision w założeniu polegać ma na parowaniu ze sobą doświadczonych graczy z początkującymi, by zachęcić tych drugich do nabycia ekwipunku używanego przez „weteranów”.

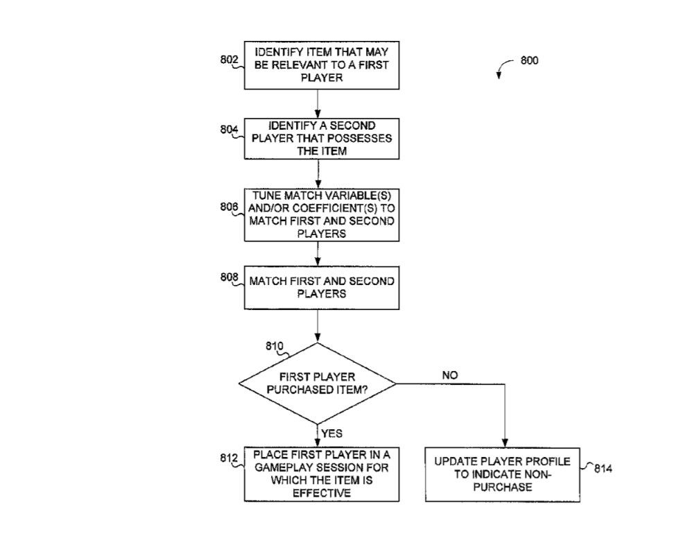
Co więcej, tzw Microtransaction Engine 128 łączyć będzie graczy również pod względem zakupionych przedmiotów w taki sposób, że ci, którzy nie wydali złotówki na specjalną broń ułatwiającą rozgrywkę (poprzez zwiększenie celności, obrażeń, itp.) dobrani będą z osobami posiadającymi płatne dodatki. Takie zestawienie stawia pierwszą grupę w bardzo niekorzystnej sytuacji, ponieważ osoby te z góry są na straconej pozycji. Celem tego systemu jest zmuszenie graczy do sięgnięcia po portfel, by zwiększyć swoją szansę na wygraną. Dodatkowo system jest o tyle zaawansowany, że będąc po świeżo dokonanym zakupie przedmiotu, zostaniemy przydzieleni tam, gdzie okaże się on najefektywniejszy, dzięki czemu będziemy zadowoleni z transakcji, ponieważ od razu zauważymy różnicę w rozgrywce i być może odwiedzimy sklep gry ponownie. Część schematu blokowego nowego systemu zamieściłem poniżej.

Obraz

Ostatecznie firmie Activision przyznano patent na nowy system matchmakingu, co wywołało fale mało przychylnych komentarzy. Gracze są oburzeni faktem, że wielkie przedsiębiorstwa mogą wykorzystywać takie zagrywki, by wyciągnąć od graczy jak najwięcej pieniędzy. Activision oznajmiło, że póki co nowy system dobierania graczy nie został wprowadzony i nie funkcjonuje aktualnie w żadnym produkcie firmy.

Źródło artykułu: www.dobreprogramy.pl
Wybrane dla Ciebie
ChatGPT ma dużą awarię. Użytkownicy zgłaszają liczne problemy
ChatGPT ma dużą awarię. Użytkownicy zgłaszają liczne problemy
CERT Polska ostrzega przed fałszywymi powiadomieniami KSeF
CERT Polska ostrzega przed fałszywymi powiadomieniami KSeF
Problem z Blikiem i kartami Visa. Od rana usterka płatności (aktualizacja)
Problem z Blikiem i kartami Visa. Od rana usterka płatności (aktualizacja)
Awaryjne aktualizacje dla Windows Server. Rozwiązują usterki
Awaryjne aktualizacje dla Windows Server. Rozwiązują usterki
Zastrzegasz PESEL? Są dwa wyjątki
Zastrzegasz PESEL? Są dwa wyjątki
Możesz stracić fanpage. Wyjątkowo autentyczny atak
Możesz stracić fanpage. Wyjątkowo autentyczny atak
Fałszywy SMS. Oszuści podszywają się pod ZUS
Fałszywy SMS. Oszuści podszywają się pod ZUS
Żabka stworzy kartę płatniczą. Wybrała dużego partnera
Żabka stworzy kartę płatniczą. Wybrała dużego partnera
PKO Bank Polski wydał komunikat. Uważaj, kto dzwoni
PKO Bank Polski wydał komunikat. Uważaj, kto dzwoni
Nowości w mObywatelu. Dodano trzy funkcje
Nowości w mObywatelu. Dodano trzy funkcje
Ważny komunikat Alior Banku. Dotyczy wszystkich klientów
Ważny komunikat Alior Banku. Dotyczy wszystkich klientów
Uznański-Wiśniewski: To AI wybiera, co warto przesłać z orbity
Uznański-Wiśniewski: To AI wybiera, co warto przesłać z orbity
ZANIM WYJDZIESZ... NIE PRZEGAP TEGO, CO CZYTAJĄ INNI! 👇