WAŻNE
TERAZ

CBA w Ministerstwie Środowiska

Koniec piractwa CAM? Philips chce uniemożliwić nagrywanie filmów w kinach

Walka z piractwem to walka z wiatrakami – pomimo likwidowaniapirackich serwisów torrentowych i streamingowych, zakazywaniaodtwarzaczy z preinstalowym Kodi z pirackimi wtyczkami, aresztowań,odszkodowań i społecznych akcji, ludzie wciąż oglądają isłuchają bezprawnie pozyskane media, co przekładać się ma namiliardowe straty koncernów filmowych i muzycznych. Niektórzypodobno gotowi są nawet oglądać nagrania filmów prosto z premierkinowych, wykonane za pomocą przemyconych na salę kamer. A że dziśkamerę (i to wysokiej rozdzielczości) ma przy sobie niemal każdy,Hollywood ma nad czym załamywać ręce. Na szczęście z pomocąprzychodzi tu Philips. Holenderska firma złożyła wniosek patentowy natechnologię, która ma na dobre skończyć ze spiraconymi filmami wwersji CAM.

Obraz

Mogłoby się wydawać, że jedynie desperaci są w stanie oglądaćpirackie wydania CAM, o marnej rozdzielczości, zepsutych kolorach,niestabilnym kadrze i rozmaitych atrakcjach w tle, takich jak chrzęstpożeranych chrupków. Niemniej jednak zainteresowanie nimi jestbardzo duże – udostępniane zaraz po kinowych debiutachblockbusterów CAM-y potrafią wybić się na pierwsze miejscarankingów popularności pirackich witryn.

Co sprawia, że internauci chcą je pobierać? Pojawiają sięopinie, że wcale nie chodzi o zrobienie sobie seansu filmowegokoszmarnej jakości, by zaoszczędzić na kinowym bilecie. Wiele osóbpobiera CAM-y, ponieważ nie ufa (i słusznie) oficjalnym zwiastunom.Podejrzane na szybkim przewijaniu pirackie wydanie pozwala podjąćdecyzję, czy kolejne arcydzieło kinematografii w rodzaju Supermanvs Alien jest w ogóle warte wybrania się do kina. A że DziesiątaMuza w złotej erze telewizji trochę podupadła, coraz częściej poszybkim przejrzeniu nagrania CAM internauta uznaje, że do kina niepójdzie, swoje pieniądze wyda na coś innego.

Obraz

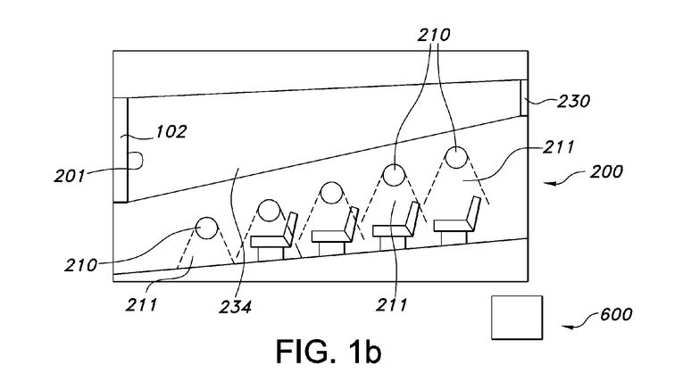
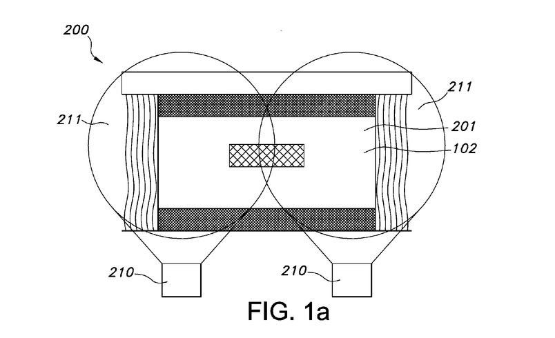
Opracowana przez inżynierów Philipsa technologiama pomóc poradzić sobie z tym zagrożeniem dla przychodów branżyfilmowej. Obecnie stosowane są dwie główne metody zabezpieczeńfilmów kinowych. Pierwsza służy wykrywaniu prób nagrywania filmu(pracownicy kina chodzą po sali w noktowizorach), druga ma pozwolićnamierzyć źródło wycieku – wyświetlane filmy opatrzone sąznakiem wodnym, unikatowym dla danej kopii. Żadna z tych metodjednak nie jest w stanie skutecznie zapobiec nagraniom i dystrybucjikopii CAM.

Kilka lat temu Philips zaprezentował rozwiązanie o nazwieAmbilight. Jak dział marketingu firmy o tym pisze, dziękiAmbilight telewizor zyskuje kolejny wymiar. Emitując barwnąpoświatę na ścianę za telewizorem, rozszerza akcję poza ekran iwypełnia pokój światłem. Dzięki zaawansowanemu systemowi diodLED wszystko, co dzieje się na ekranie, jest odzwierciedlane wczasie rzeczywistym. Niezależnie od okoliczności będziesz więczawsze mieć poczucie, że jesteś wśród gwiazd.

Obraz

To właśnie Ambilight zainspirowałrozwiązanie antypirackie. Inżynierowie Philipsa proponujązamontowanie w kinach dodatkowych źródeł LED-owego światła omodulacji częstotliwości od 40 do 500 Hz, rzucanego na kinowy ekranpodczas odtwarzania filmu. Przy właściwie dobranej częstotliwości,kamery przemycone na salę przez piratów nie będą w staniewłaściwie nagrać obrazu ze względu na desynchronizacjęwywoływaną przez to dodatkowe oświetlenie – obraz będziewypełniony poziomymi pasami.

Wynalazcy zwracają uwagę, że zewzględu na powiązanie światła z tym, co widać na ekranie, takiantypiracki system ma pogłębić doświadczenie widza: gdy scenabędzie ciemniejsza, to i źródło światła zostanie przyciemnione,gdy scena będzie w błękitach, to światło stanie się teżbłękitne.

Biorąc pod uwagę pozycję Philipsa narynku, jak i marne przychody z kas biletowych tego lata, możnasądzić, że branża filmowa rozpocznie działania na rzeczwyposażenia przynajmniej tych największych kin w takie systemyoświetlenia Ambilight. I wszystko będzie wspaniale, dopóki piracinie przypomną sobie o istnieniu filtrów polaryzacyjnych, którepowinny takie modulowane światło łatwo odfiltrować, pozwalającdalej nagrywać CAM-y.

Źródło artykułu: www.dobreprogramy.pl
Wybrane dla Ciebie
Microsoft zmienił zdanie? Tłumaczy, kiedy warto zastąpić Defendera
Microsoft zmienił zdanie? Tłumaczy, kiedy warto zastąpić Defendera
Walka z botami. Tinder i Zoom wprowadzają skan tęczówki
Walka z botami. Tinder i Zoom wprowadzają skan tęczówki
Rusza WhatsApp Plus. Płatna wersja z dodatkowymi opcjami
Rusza WhatsApp Plus. Płatna wersja z dodatkowymi opcjami
ChatGPT ma dużą awarię. Użytkownicy zgłaszają liczne problemy
ChatGPT ma dużą awarię. Użytkownicy zgłaszają liczne problemy
CERT Polska ostrzega przed fałszywymi powiadomieniami KSeF
CERT Polska ostrzega przed fałszywymi powiadomieniami KSeF
Problem z Blikiem i kartami Visa. Od rana usterka płatności (aktualizacja)
Problem z Blikiem i kartami Visa. Od rana usterka płatności (aktualizacja)
Awaryjne aktualizacje dla Windows Server. Rozwiązują usterki
Awaryjne aktualizacje dla Windows Server. Rozwiązują usterki
Zastrzegasz PESEL? Są dwa wyjątki
Zastrzegasz PESEL? Są dwa wyjątki
Możesz stracić fanpage. Wyjątkowo autentyczny atak
Możesz stracić fanpage. Wyjątkowo autentyczny atak
Fałszywy SMS. Oszuści podszywają się pod ZUS
Fałszywy SMS. Oszuści podszywają się pod ZUS
Żabka stworzy kartę płatniczą. Wybrała dużego partnera
Żabka stworzy kartę płatniczą. Wybrała dużego partnera
PKO Bank Polski wydał komunikat. Uważaj, kto dzwoni
PKO Bank Polski wydał komunikat. Uważaj, kto dzwoni
ZATRZYMAJ SIĘ NA CHWILĘ… TE ARTYKUŁY WARTO PRZECZYTAĆ 👀